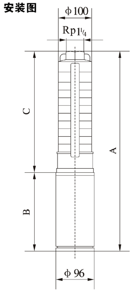
深井泵QJ系列1、不銹鋼深井泵外形尺寸圖
|
|
泵型號 |
尺寸(mm) |
重量 (kg) |
||
|
A |
B |
C |
|||
|
QJ1-6 |
667 |
370 |
297 |
12 |
|
|
QJ1-9 |
730 |
370 |
360 |
13 |
|
|
QJ1-13 |
824 |
380 |
444 |
15 |
|
|
QJ1-17 |
928 |
400 |
528 |
17 |
|
|
QJ1-21 |
1052 |
440 |
612 |
19 |
|
|
QJ1-25 |
1136 |
440 |
696 |
20 |
|
|
QJ1-28 |
1229 |
470 |
759 |
23 |
|
|
QJ1-32 |
1313 |
470 |
843 |
24 |
|
|
QJ1-36 |
1397 |
470 |
927 |
25 |
|
|
QJ1-39 |
1500 |
510 |
990 |
29 |
|
|
QJ1-42 |
1563 |
510 |
1053 |
30 |
|
|
QJ1-46 |
1647 |
510 |
1137 |
31 |
|
|
QJ1-50 |
1731 |
510 |
1221 |
32 |
|
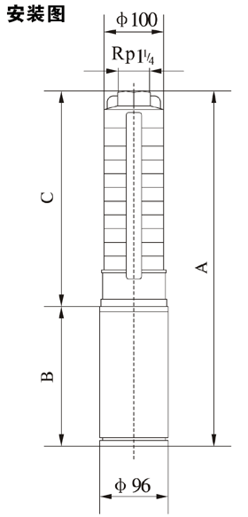
深井泵QJ系列3、不銹鋼深井泵 外形尺寸圖
|
|
泵型號 |
尺寸(mm) |
重量 (kg) |
||
|
A |
B |
C |
|||
|
QJ3-6 |
667 |
370 |
297 |
12 |
|
|
QJ3-9 |
740 |
380 |
360 |
13 |
|
|
QJ3-12 |
823 |
400 |
423 |
16 |
|
|
QJ3-15 |
926 |
440 |
486 |
18 |
|
|
QJ3-18 |
999 |
440 |
549 |
19 |
|
|
QJ3-22 |
1103 |
470 |
633 |
22 |
|
|
QJ3-27 |
1248 |
510 |
738 |
27 |
|
|
QJ3-32 |
1353 |
510 |
843 |
28 |
|
|
QJ3-38 |
1589 |
620 |
969 |
31 |
|
|
QJ3-43 |
1694 |
620 |
1074 |
32 |
|
深井泵QJ系列5、不銹鋼深井泵 外形尺寸圖
|
|
泵型號 |
尺寸(mm) |
重量 (kg) |
||
|
A |
B |
C |
|||
|
QJ5-4 |
625 |
370 |
255 |
12 |
|
|
QJ5-6 |
677 |
380 |
297 |
13 |
|
|
QJ5-8 |
739 |
400 |
339 |
15 |
|
|
QJ5-12 |
863 |
440 |
423 |
17 |
|
|
QJ5-17 |
998 |
470 |
528 |
21 |
|
|
QJ5-21 |
1122 |
510 |
612 |
26 |
|
|
QJ5-25 |
1206 |
510 |
696 |
27 |
|
|
QJ5-29 |
1400 |
620 |
780 |
29 |
|
|
QJ5-33 |
1484 |
620 |
864 |
30 |
|
|
QJ5-38 |
1719 |
750 |
969 |
33 |
|
|
QJ5-43 |
1824 |
750 |
1074 |
35 |
|
深井泵QJ系列8、不銹鋼深井泵 外形尺寸圖
|
|
泵型號 |
尺寸(mm) |
重量 (kg) |
||
|
A |
B |
C |
|||
|
QJ8-5 |
853 |
400 |
453 |
16 |
|
|
QJ8-7 |
977 |
440 |
537 |
19 |
|
|
QJ8-10 |
1133 |
470 |
663 |
22 |
|
|
QJ8-12 |
1257 |
510 |
747 |
27 |
|
|
QJ8-15 |
1619 |
510 |
873 |
29 |
|
|
QJ8-18 |
1383 |
620 |
999 |
32 |
|
|
QJ8-21 |
1875 |
750 |
1125 |
35 |
|
|
QJ8-25 |
2043 |
750 |
1293 |
37 |
|
|
QJ8-30 |
2343 |
840 |
1503 |
43 |
|
|
QJ8-37 |
2637 |
840 |
1797 |
46 |
|
|
QJ8-44 |
3011 |
920 |
2091 |
55 |
|
|
QJ8-50 |
3263 |
920 |
2343 |
58 |
|
深井泵QJ系列12、不銹鋼深井泵 外形尺寸圖
|
|
泵型號 |
尺寸(mm) |
重量 (kg) |
||
|
A |
B |
C |
|||
|
QJ12-5 |
1005 |
470 |
535 |
21 |
|
|
QJ12-7 |
1175 |
510 |
665 |
26 |
|
|
QJ12-10 |
1480 |
620 |
860 |
30 |
|
|
QJ12-13 |
1805 |
750 |
1055 |
34 |
|
|
QJ12-15 |
2025 |
840 |
1185 |
38 |
|
|
QJ12-18 |
2220 |
840 |
1380 |
40 |
|
|
QJ12-21 |
2495 |
920 |
1575 |
47 |
|
|
QJ12-25 |
2755 |
920 |
1835 |
50 |
|
深井泵QJ系列17、不銹鋼深井泵 外形尺寸圖
|
|
泵型號 |
尺寸(mm) |
重量 (kg) |
|||
|
A |
B |
C |
D |
|||
|
QJ17-1 |
708 |
380 |
328 |
96 |
17 |
|
|
QJ17-2 |
828 |
440 |
388 |
96 |
21 |
|
|
QJ17-3 |
959 |
510 |
449 |
96 |
28 |
|
|
QJ17-4 |
1019 |
510 |
509 |
96 |
29 |
|
|
QJ17-5 |
1190 |
620 |
570 |
96 |
32 |
|
|
QJ17-6 |
1380 |
750 |
630 |
96/143 |
35/41 |
|
|
QJ17-7 |
1441 |
750 |
691 |
96/143 |
36/42 |
|
|
QJ17-8 |
1591 |
840 |
751 |
96/143 |
41/49 |
|
|
QJ17-9 |
1652 |
840 |
812 |
96/143 |
42/50 |
|
|
QJ17-10 |
1712 |
840 |
872 |
96/143 |
43/51 |
|
|
QJ17-11 |
1853 |
920 |
933 |
96/143 |
49/60 |
|
|
QJ17-12 |
1913 |
920 |
993 |
96/143 |
50/61 |
|
|
QJ17-13 |
1974 |
920 |
1054 |
96/143 |
51/62 |
|
|
QJ17-14 |
2000 |
870 |
1130 |
143 |
75 |
|
|
QJ17-15 |
2061 |
870 |
1191 |
143 |
76 |
|
|
QJ17-16 |
2121 |
870 |
1251 |
143 |
77 |
|
|
QJ17-17 |
2182 |
870 |
1312 |
143 |
78 |
|
|
QJ17-18 |
2292 |
920 |
1372 |
143 |
85 |
|
|
QJ17-19 |
2353 |
920 |
1433 |
143 |
86 |
|
|
QJ17-20 |
2413 |
920 |
1499 |
143 |
87 |
|
|
QJ17-21 |
2534 |
980 |
1554 |
143 |
95 |
|
|
QJ17-22 |
2594 |
980 |
1614 |
143 |
96 |
|
|
QJ17-23 |
2655 |
980 |
1675 |
143 |
98 |
|
|
QJ17-24 |
2715 |
980 |
1753 |
143 |
99 |
|
|
QJ17-25 |
2826 |
1030 |
1796 |
143 |
106 |
|
|
QJ17-26 |
2880 |
1030 |
1856 |
143 |
107 |
|
深井泵QJ系列30、不銹鋼深井泵 外形尺寸圖
|
|
泵型號 |
尺寸(mm) |
重量 (kg) |
|||
|
A |
B |
C |
D |
|||
|
QJ30-1 |
802 |
440 |
362 |
96 |
20 |
|
|
QJ30-2 |
968 |
510 |
458 |
96 |
28 |
|
|
QJ30-3 |
1174 |
620 |
554 |
96 |
31 |
|
|
QJ30-4 |
1400 |
750 |
650 |
96/143 |
35/41 |
|
|
QJ30-5 |
1586 |
840 |
746 |
96/143 |
40/48 |
|
|
QJ30-6 |
1682 |
840 |
842 |
96/143 |
42/50 |
|
|
QJ30-7 |
1858 |
920 |
938 |
96/143 |
49/60 |
|
|
QJ30-8 |
1954 |
920 |
1034 |
96/143 |
51/61 |
|
|
QJ30-9 |
2016 |
870 |
1146 |
143 |
75 |
|
|
QJ30-10 |
2112 |
870 |
1242 |
143 |
77 |
|
|
QJ30-11 |
2208 |
870 |
1338 |
143 |
79 |
|
|
QJ30-12 |
2354 |
920 |
1434 |
143 |
85 |
|
|
QJ30-13 |
2450 |
920 |
1530 |
143 |
87 |
|
|
QJ30-14 |
2606 |
980 |
1626 |
143 |
96 |
|
|
QJ30-15 |
2702 |
980 |
1722 |
143 |
98 |
|
|
QJ30-16 |
2848 |
1030 |
1818 |
143 |
106 |
|
|
QJ30-17 |
2944 |
1030 |
1914 |
143 |
108 |
|
|
QJ30-18 |
2100 |
1090 |
2010 |
143 |
117 |
|
|
QJ30-19 |
3196 |
1090 |
2106 |
143 |
119 |
|
|
QJ30-20 |
3292 |
1090 |
2202 |
143 |
120 |
|
|
QJ30-21 |
3388 |
1090 |
2298 |
143 |
122 |
|
|
QJ30-22 |
3554 |
1160 |
2349 |
143 |
138 |
|
|
QJ30-23 |
3650 |
1160 |
2490 |
143 |
140 |
|
|
QJ30-24 |
3746 |
1160 |
2586 |
143 |
142 |
|
|
QJ30-25 |
3842 |
1160 |
2682 |
143 |
144 |
|
深井泵QJ系列42、不銹鋼深井泵 外形尺寸圖
|
|
泵型號 |
尺寸(mm) |
重量 (kg) |
|||
|
A |
B |
C |
D |
|||
|
QJ42-1 |
888 |
510 |
378 |
96 |
29 |
|
|
QJ42-2 |
1111 |
620 |
491 |
96 |
33 |
|
|
QJ42-3 |
1444 |
840 |
604 |
96/143 |
40/48 |
|
|
QJ42-4 |
1637 |
920 |
717 |
96/143 |
47/58 |
|
|
QJ42-5 |
1750 |
920 |
830 |
96/143 |
49/60 |
|
|
QJ42-6 |
1892 |
870 |
959 |
96/143 |
73 |
|
|
QJ42-7 |
1992 |
920 |
1072 |
96/143 |
80 |
|
|
QJ42-8 |
2165 |
980 |
1185 |
143 |
89 |
|
|
QJ42-9 |
2328 |
1030 |
1298 |
143 |
97 |
|
|
QJ42-10 |
2441 |
1030 |
1411 |
143 |
100 |
|
|
QJ42-11 |
2614 |
1090 |
1524 |
143 |
109 |
|
|
QJ42-12 |
2727 |
1090 |
1637 |
143 |
111 |
|
|
QJ42-13 |
2910 |
1160 |
1750 |
143 |
127 |
|
|
QJ42-14 |
3023 |
1160 |
1863 |
143 |
129 |
|
|
QJ42-15 |
3136 |
1160 |
1976 |
143 |
131 |
|
|
QJ42-16 |
3319 |
1230 |
2089 |
143 |
145 |
|
|
QJ42-17 |
3432 |
1230 |
2202 |
143 |
147 |
|
|
QJ42-18 |
3645 |
1330 |
2315 |
143 |
162 |
|
|
QJ42-19 |
3758 |
1330 |
2428 |
143 |
164 |
|
|
QJ42-20 |
3871 |
1330 |
2541 |
143 |
167 |
|
|
QJ42-21 |
4220 |
1570 |
2654 |
143 |
192 |
|
|
QJ42-22 |
4337 |
1570 |
2767 |
143 |
194 |
|
深井泵QJ系列60、不銹鋼深井泵 外形尺寸圖
|
|
泵型號 |
尺寸(mm) |
重量 (kg) |
|||
|
A |
B |
C |
D |
|||
|
QJ60-1 |
878 |
510 |
368 |
96 |
30 |
|
|
QJ |
1101 |
620 |
481 |
96 |
33 |
|
|
QJ60-2 |
1231 |
750 |
481 |
96/143 |
35/41 |
|
|
QJ60-3 |
1434 |
840 |
594 |
96/143 |
41/49 |
|
|
QJ60-4 |
1627 |
920 |
707 |
96/143 |
48/59 |
|
|
QJ60-5 |
1690 |
870 |
820 |
96/143 |
72 |
|
|
QJ60-6 |
1869 |
920 |
949 |
96/143 |
78 |
|
|
QJ60-7 |
2042 |
980 |
1062 |
143 |
87 |
|
|
QJ |
2155 |
980 |
1175 |
143 |
88 |
|
|
QJ60-8 |
2205 |
1030 |
1175 |
143 |
96 |
|
|
QJ |
2318 |
1030 |
1288 |
143 |
97 |
|
|
QJ60-9 |
2378 |
1090 |
1288 |
143 |
105 |
|
|
QJ60-10 |
2491 |
1090 |
1401 |
143 |
107 |
|
|
QJ60-11 |
2674 |
1160 |
1514 |
143 |
123 |
|
|
QJ60-12 |
2787 |
1160 |
1627 |
143 |
125 |
|
|
QJ60-13 |
2900 |
1160 |
1740 |
143 |
127 |
|
|
QJ60-14 |
3083 |
1230 |
1853 |
143 |
141 |
|
|
QJ60-15 |
3196 |
1230 |
1966 |
143 |
143 |
|
|
QJ60-16 |
3409 |
1330 |
2079 |
143 |
158 |
|
|
QJ60-17 |
3522 |
1330 |
2192 |
143 |
160 |
|
|
QJ60-18 |
3635 |
1330 |
2305 |
143 |
162 |
|
|
QJ60-19 |
3988 |
1570 |
2418 |
143 |
188 |
|
|
QJ60-20 |
4101 |
1570 |
2531 |
143 |
190 |
|
|
QJ60-21 |
4214 |
1570 |
2644 |
143 |
191 |
|







辦事處列表
SYWT-C系列PE污水提升器
SYWT-C系列PE污水提升器







